智通财经APP获悉,据港交所1月16日披露,勤浩医药(苏州)股份有限公司(简称:勤浩医药)向港交所主板递交上市申请书,华泰国际为独家保荐人。

公司简介
招股书显示,勤浩医药是一家生物制药公司,主要专注于开发肿瘤学领域的潜在同类最佳靶向疗法。拥有围绕RAS信号通路及合成致死机制打造的、具有差异化且强大的自主开发创新候选药物管线。根据灼识咨询的资料,就同一靶点的临床进展而言,公司的多款候选药物处于全球领先地位。
公司的核心产品GH21是一种潜在同类最佳的变构SHP2抑制剂,目前处于2期临床试验阶段。公司于2021年11月从国家药监局获得GH21单药治疗晚期实体瘤的IND批准,于2022年5月开始其1期单药治疗临床试验,并于2025年3月获得临床研究报告从而完成1期临床试验。
对于GH21的联合疗法,公司分别于2024年6月和2023年11月从国家药监局获得其与格索雷塞和奥希替尼联合疗法的IND批准。公司正在中国分别进行其与格索雷塞联合的一项1b/2期及一项2期临床试验,以及与奥希替尼联合的一项1b/2期临床试验。我们已于2026年1月咨询药审中心并获其确认:(i)GH21各项1期试验、1b/2期试验及2期临床试验为独立且完整的试验;(ii)药审中心对公司推进一项2期临床试验及两项1b/2期临床试验无异议;及(iii)整项1b/2期试验属独立试验,且在惯常临床阶段框架下,应视作与2期试验同等效力。
截至最后实际可行日期,公司的管线包括七款自主开发的候选药物,其中包括四款处于临床阶段的候选药物、一款已获中国国家药监局及美国FDAIND批准的候选药物及两款处于临床前阶段的候选药物。公司的RAS信号通路管线由两款处于临床阶段的候选药物GH21及GH55为代表。
根据灼识咨询的资料,GH21与GH55的联合疗法在MAPK通路激活的实体瘤患者中进一步释放了其巨大潜力,公司已于2025年11月向国家药监局提交GH21与GH55的联合疗法1/2期临床试验的IND申请,旨在实体瘤药物治疗的巨大市场,其于2024年全球新增580万名患者。GH55是一款适用于MAPK通路激活实体瘤的双机制ERK1/2抑制剂,正在中国进行单药治疗的1期临床试验。同时,公司拥有强大的合成致死候选药物管线,包括两款临床阶段候选药物GH56及GH2616,一款已获中国国家药监局及美国FDAIND批准的候选药物GH31以及两款临床前阶段候选药物GH1581及GH3595。根据灼识谘询的资料,2024年全球合成致死药物的市场规模为42亿美元,预计2033年将增加至176亿美元。
除公司的核心产品GH21外,公司的GH55亦为靶向RAS信号通路的候选药物。GH55是一种潜在同类最佳的双机制ERK1/2抑制剂,用于治疗MAPK通路激活的实体瘤。公司分别于2022年9月及2022年11月从国家药监局及FDA获得GH55用于MAPK通路激活的实体瘤的IND批准,目前公司正在中国开展GH55单药治疗的1期临床试验。目前,公司正在开发五款通过合成致死作用发挥抗肿瘤活性的候选药物:GH56、GH2616、GH31、GH1581及GH3595:
GH56:一种潜在同类最佳的MTA协同PRMT5抑制剂,能够在MTAP缺失的肿瘤中发挥合成致死效应。公司于2025年1月获得国家药监局及FDA的IND批准,针对MTAP纯合缺失的实体瘤患者进行GH56的临床试验,目前正在中国进行1期临床试验;
GH2616:一种潜在同类最佳的KIF18A抑制剂,通过合成致死作用在WGD+肿瘤中发挥抗肿瘤作用。公司于2024年1月获得国家药监局及FDA的IND批准,在带有TP53突变和WGD的实体瘤患者中开展GH2616的临床试验,目前正在中国进行1期临床试验;
GH31:一种潜在同类最佳MAT2A抑制剂,适用于治疗MTAP缺失的肿瘤。公司分别于2025年12月及2026年1月获得FDA及国家药监局的IND批准。公司计划于2026年第一季度在中国开展GH31的1期临床试验;
GH1581:一种潜在同类最佳的WRN抑制剂,对具有微卫星不稳定性(“MSI”)的肿瘤具有合成致死作用,目前正处于临床前阶段。公司计划于2026年第四季度向国家药监局及FDA提交GH1581的IND申请;
GH3595:一种潜在同类最佳的DHX9抑制剂,适用于带有MSI-H或HRD的实体肿瘤,目前正处于临床前阶段。公司计划于2027年向国家药监局及FDA提交GH3595的IND申请。
截至最后实际可行日期公司候选药物管线如下:

财务资料
收入:
于2024年度、2024年以及2025年截至9月30日止九个月,勤浩医药实现收入分别为469万元、373.2万元、98.1万元人民币。
利润:
于2024年度、2024年以及2025年截至9月30日止九个月,勤浩医药实现利润分别为约-1.52亿元、-9650.6万元、-9888.7万元人民币。

行业概览
全球肿瘤药物市场规模由2020年的1670亿美元增加至2024年的2621亿美元,期内复合年增长率为11.9%。预计到2033年,全球肿瘤药物市场规模将增加至6,461亿美元,2024年至2033年期间复合年增长率为10.5%。中国肿瘤药物市场规模由2020年的258亿美元增加至2024年的372亿美元,期内复合年增长率为9.6%。预计到2033年,中国肿瘤药物市场规模将增加至1238亿美元,2024年至2033年期间复合年增长率为14.3%。

SHP2抑制剂的全球市场预计将从2027年开始存在。市场规模预计将由2029年的约3.29亿美元增加至2033年的约48.21亿美元,复合年增长率为95.6%。SHP2抑制剂的中国市场预计将从2027年开始存在。市场规模预计将由2029年的约2.06亿美元增加至2033年的约7.84亿美元,复合年增长率为39.8%。


全球MAPK通路突变型PDAC的发病率由2020年的41.94万例增加至2024年的45.23万例,期内复合年增长率为1.9%。预计到2033年,全球MAPK通路突变型PDAC的发病率将增加至57.42万例,2024年至2033年期间复合年增长率为2.7%。中国MAPK通路突变型PDAC的发病率由2020年的8.81万例增加至2024年的9.81万例,期内复合年增长率为2.7%。预计到2033年,中国MAPK通路突变型PDAC的发病率将增加至11.72万例,2024年至2033年期间复合年增长率为2.0%。

全球合成致死药物市场的市场规模由2020年的22亿美元增加至2024年的42亿美元,期内复合年增长率为17.8%。到2033年,全球合成致死药物市场的市场规模预计将增加至176亿美元,2024年至2033年的复合年增长率为17.3%。中国合成致死药物市场的市场规模由2020年的1亿美元增加至2024年的4亿美元,期内复合年增长率为30.7%。到2033年,中国合成致死药物市场的市场规模预计将增加至27亿美元,2024年至2033年的复合年增长率为22.8%。下图载列2020年至2033年中国、美国及全球其他地区的合成致死药物市场规模。

全球MTAP缺失型非小细胞肺癌的发生病率由2020年的32.10万例增加至2024年的36.88万例,期内的复合年增长率为3.5%。到2033年,全球MTAP缺失型非小细胞肺癌的发病率预计将增加至46.47万例,2024年至2033年的复合年增长率预计为2.6%。MTAP缺失型非小细胞肺癌在中国的发病率由2020年的13.86万例增加至2024年的16.25万例,期内的复合年增长率为4.1%。到2033年,MTAP缺失型非小细胞肺癌在中国的发病率预计将增加至21.14万例,2024年至2033年的复合年增长率预计为3.0%。
MTAP缺失型消化系统癌症的全球发病率由2020年的41.94万例增加至2024年的45.48万例,期内复合年增长率为2.0%。到2033年,MTAP缺失型消化系统癌症的全球发病率预计将增加至51.47万例,2024年至2033年的复合年增长率为1.4%。MTAP缺失型消化系统癌症在中国的发病率由2020年的13.22万例增加至2024年的13.98万例,期内复合年增长率为1.4%。到2033年,MTAP缺失型消化系统癌症在中国的发病率预计将增加至15.06万例,2024年至2033年的复合年增长率为0.8%。

董事会资料
董事会将由九名董事组成,包括三名执行董事、三名非执行董事及三名独立非执行董事。我们的所有执行董事、非执行董事及独立非执行董事的首届任期均为三年,经连选及╱或重新委任后可续任。


股权架构
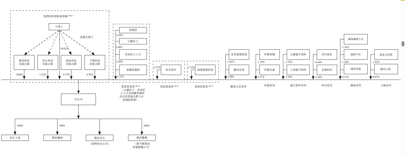
王奎锋博士直接持股18.62%,睿浩科技有限合伙持股9.06%,浩生科技有限合伙持股1.22%,凯浩科技有限合伙持股6.37%,千勤科技有限合伙持股4.76%,深创投持股1.02%,江苏红土持股1.40%,常州红土人才持股1.40%,新疆深创投持股1.27%。

中介团队
独家保荐人:华泰金融控股(香港)有限公司
公司法律顾问:有关香港法例及美国法例:亚司特律师事务所;有关中国法例:竞天公诚律师事务所;有关知识产权法例:竞天公诚律师事务所
独家保荐人法律顾问:有关香港法例:周俊轩律师事务所与北京市通商律师事务所联营;有关中国法例:北京市通商律师事务所
行业顾问:灼识行业咨询有限公司
核数师及申报会计师:安永会计师事务所