智通财经APP获悉,据港交所1月20日披露,山东极视角科技股份有限公司(简称“极视角”)向港交所主板提交上市申请,中信证券为其独家保荐人。

公司简介
招股书显示,极视角科技是中国AI计算机视觉解决方案提供商,为各行各业的企业提供端到端解决方案开发、部署及管理服务。根据弗若斯特沙利文的资料,按2024年的收入计,公司于中国新兴企业级计算机视觉解决方案市场中排名第八。
公司专注于为企业提供AI计算机视觉解决方案及大模型解决方案:
AI计算机视觉解决方案。公司提供标准AI计算机视觉解决方案、定制AI计算机视觉解决方案及软件定义的一体化AI解决方案。
大模型解决方案。公司通过结合客户的行业和运营知识,调整通用大模型以满足客户的多样化需求。公司利用多智能体优化、RAG及基于场景的算法等先进技术,提供为企业专业用途设计的定制化大模型解决方案。

公司向工业、能源、零售及交通等多个垂直业务领域的客户提供解决方案。于往绩记录期间,公司的客户主要来自于中国,包括企业、政府及大学。
于往绩记录期间各期间,五大客户各自产生的收入分别为人民币4260万元、人民币8070万元、人民币1.23亿元及人民币4160万元,分别占公司总收入的42.1%、 63.0%、48.1%及30.5%。
此外,公司于往绩记录期间各期间的前五大客户中的部分客户同时担任公司的供应商,反之亦然。
公司经营业绩受重大季节性波动的影响。于往绩记录期间,下半年产生的收入平均占年度收入的75%至90%。
财务资料
收入
于2022年、2023年、2024年、2025年截至9月30日止九个月,公司收入分别约为1.02亿元、1.28亿元、2.57亿元、1.36亿元人民币。
利润
于2022年、2023年、2024年、2025年截至9月30日止九个月,公司年/期内利润分别约为-6072.2万元、-5624.6万元、870.8万元、-3629.6万元人民币。

毛利率
于2022年、2023年、2024年、2025年截至9月30日止九个月,公司毛利率分别为30.6%、25.9%、40.2%、44.9%。

行业概览
中国企业级计算机视觉解决方案的市场规模
2020年至2024年,在政策支持、下游需求增加及应用多元化的推动下,中国企业级计算机视觉解决方案的市场规模呈现显著增长,由2020年的人民币107亿元增至2024年的人民币368亿元,复合年增长率为36.2%。
预计到2029年,企业级计算机视觉解决方案将进一步渗透到各个行业,中国企业级计算机视觉解决方案的市场规模将持续上升,达到人民币1,824亿元,复合年增长率为37.7%。

中国新兴企业级计算机视觉解决方案的市场规模
近年来,随着企业级计算机视觉解决方案技术持续成熟,新兴应用场景不断涌现,叠加算力成本下降,为商业化落地提供了有力支撑。
2020年至2024年,中国新兴企业级计算机视觉解决方案的市场规模呈现显著增长,由2020年的人民币22亿元增至2024年的人民币111亿元,复合年增长率为49.9%。
预计到2029年,新兴企业级计算机视觉解 决方案的应用将更趋多元化,中国新兴企业级计算机视觉解决方案的市场规模将达到人民币970亿元,复合年增长率为54.3%,其在整体企业级计算机视觉解决方案中的渗透率将进一步提升至53.2%。

竞争格局
中国新兴企业级计算机视觉解决方案市场的参与者众多,竞争格局相对分散。按中国新兴企业级计算机视觉解决方案的销售收入计,2024年中国新兴企业级计算机视觉解决方案市场前十名参与者的市场集中度约为47.9%。
中国新兴企业级计算机视觉解决方案市场排名
按2024年中国新兴企业级计算机视觉解决方案市场的销售收入计,公司在所有市场参与者中排名第八,市场份额为1.6%。此外,根据相同标准,公司是中国新兴企业级计算机视觉解决方案市场第三大以软件为中心的提供商。


董事会资料
公司董事会由7名董事组成,包括3名执行董事及4名独立非执行董事。


股权架构
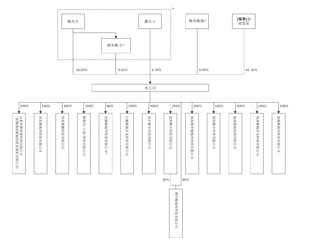
截至2026年1月15日,根据一致行动协议,陈先生、罗女士及横琴极力(合共为单一最大股东团体)能够行使公司合共约29.84%的投票权。



中介团队
独家保荐人:中信证券(香港)有限公司
公司法律顾问:有关香港特别行政区法例及美国法律:嘉源律师事务所;有关中国法律:北京市嘉源律师事务所
独家保荐人法律顾问:有关香港特别行政区法例:诺顿罗氏香港;有关中国法律:海问律师事务所
申报会计师:安永会计师事务所
行业顾问:弗若斯特沙利文
合规顾问:创陞融资有限公司