问题举报
智通媒体矩阵
智通财经APP
下载智通财经APP
大路演官网
联系我们
切换繁体
首页
资讯
7x24
行情
数据
日历
路演
主题
分享
微信
分享
QQ
分享
微博
评论
收藏
取消
收藏
首页 >
资讯 >
A股 >
博华科技、珠海赛纬、海康机器等37家企业深交所IPO审核状态变更为“中止”
作者: 智通财经 陈雯芳
2025-09-30 20:42:58
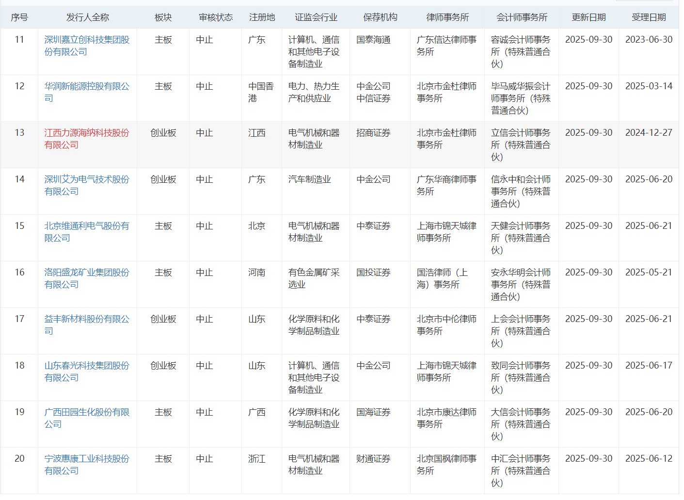
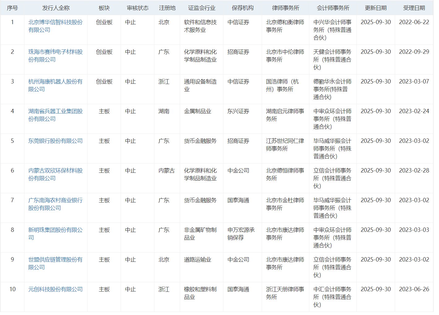
9月30日,博华科技、珠海赛纬、海康机器等37家企业深交所IPO审核状态变更为“中止”。
智通财经APP获悉,深交所网站显示,9月30日,博华科技、珠海赛纬、海康机器等37家企业深交所IPO审核状态变更为“中止”。
智通声明:本内容为作者独立观点,不代表智通财经立场。未经允许不得转载,文中内容仅供参考,不作为实际操作建议,交易风险自担。更多最新最全港美股资讯,请点击
下载智通财经App
分享
微信
分享
QQ
分享
微博
收藏
取消
收藏
相关阅读
新股消息 | 均胜电子(600699.SH)港股IPO获中国证监会备案
2025-09-30 19:37
陈雯芳
新股消息 | 三一重工港股IPO获中国证监会备案
2025-09-30 19:35
刘家殷
新股消息丨剑桥科技(603083.SH)港股IPO获中国证监会备案
2025-09-30 19:32
冯秋怡
新股消息 | 三只松鼠港股IPO获中国证监会备案
2025-09-30 19:28
刘家殷
上交所:合格境外投资者可以参与在本所上市的ETF期权交易
2025-09-30 18:47
智通编选